5709cc682202c6b13e7399e22eef7c0725c93d60
- 最新技术栈:使用 Vue3、Vite4 等前端前沿技术开发
- TypeScript: 应用程序级 JavaScript 的语言
- 主题: 可配置的主题
- 国际化:内置完善的国际化方案
- 权限:内置完善的动态路由权限生成方案
- 组件:二次封装了多个常用的组件
- 示例:内置丰富的示例
技术栈
| 框架 | 说明 | 版本 |
|---|---|---|
| Vue | Vue 框架 | 3.3.8 |
| Vite | 开发与构建工具 | 4.5.0 |
| Element Plus | Element Plus | 2.4.2 |
| TypeScript | JavaScript 的超集 | 5.2.2 |
| pinia | Vue 存储库 替代 vuex5 | 2.1.7 |
| vueuse | 常用工具集 | 10.6.1 |
| vue-i18n | 国际化 | 9.6.5 |
| vue-router | Vue 路由 | 4.2.5 |
| unocss | 原子 css | 0.57.4 |
| iconify | 在线图标库 | 3.1.1 |
| wangeditor | 富文本编辑器 | 5.1.23 |
开发工具
推荐 VS Code 开发,配合插件如下:
| 插件名 | 功能 |
|---|---|
| Vue - Official | Vue 与 TypeScript 支持 |
| unocss | unocss for vscode |
| Iconify IntelliSense | Iconify 预览和搜索 |
| i18n Ally | 国际化智能提示 |
| Stylelint | Css 格式化 |
| Prettier | 代码格式化 |
| ESLint | 脚本代码检查 |
| DotENV | env 文件高亮 |
内置功能
系统内置多种多种业务功能,可以用于快速你的业务系统:
- 通用模块(必选):系统功能、基础设施
- 通用模块(可选):工作流程、支付系统、数据报表、会员中心
- 业务系统(按需):ERP 系统、CRM 系统、商城系统、微信公众号、AI 大模型
系统功能
| 功能 | 描述 | |
|---|---|---|
| 用户管理 | 用户是系统操作者,该功能主要完成系统用户配置 | |
| ⭐️ | 在线用户 | 当前系统中活跃用户状态监控,支持手动踢下线 |
| 角色管理 | 角色菜单权限分配、设置角色按机构进行数据范围权限划分 | |
| 菜单管理 | 配置系统菜单、操作权限、按钮权限标识等,本地缓存提供性能 | |
| 部门管理 | 配置系统组织机构(公司、部门、小组),树结构展现支持数据权限 | |
| 岗位管理 | 配置系统用户所属担任职务 | |
| 🚀 | 租户管理 | 配置系统租户,支持 SaaS 场景下的多租户功能 |
| 🚀 | 租户套餐 | 配置租户套餐,自定每个租户的菜单、操作、按钮的权限 |
| 字典管理 | 对系统中经常使用的一些较为固定的数据进行维护 | |
| 🚀 | 短信管理 | 短信渠道、短息模板、短信日志,对接阿里云、腾讯云等主流短信平台 |
| 🚀 | 邮件管理 | 邮箱账号、邮件模版、邮件发送日志,支持所有邮件平台 |
| 🚀 | 站内信 | 系统内的消息通知,提供站内信模版、站内信消息 |
| 🚀 | 操作日志 | 系统正常操作日志记录和查询,集成 Swagger 生成日志内容 |
| ⭐️ | 登录日志 | 系统登录日志记录查询,包含登录异常 |
| 🚀 | 错误码管理 | 系统所有错误码的管理,可在线修改错误提示,无需重启服务 |
| 通知公告 | 系统通知公告信息发布维护 | |
| 🚀 | 敏感词 | 配置系统敏感词,支持标签分组 |
| 🚀 | 应用管理 | 管理 SSO 单点登录的应用,支持多种 OAuth2 授权方式 |
| 🚀 | 地区管理 | 展示省份、城市、区镇等城市信息,支持 IP 对应城市 |
工作流程
基于 Flowable 构建,可支持信创(国产)数据库,满足中国特色流程操作:
| BPMN 设计器 | 钉钉/飞书设计器 |
|---|---|
![]() |
![]() |
历经头部企业生产验证,工作流引擎须标配仿钉钉/飞书 + BPMN 双设计器!!!
前者支持轻量配置简单流程,后者实现复杂场景深度编排
| 功能列表 | 功能描述 | 是否完成 |
|---|---|---|
| SIMPLE 设计器 | 仿钉钉/飞书设计器,支持拖拽搭建表单流程,10 分钟快速完成审批流程配置 | ✅ |
| BPMN 设计器 | 基于 BPMN 标准开发,适配复杂业务场景,满足多层级审批及流程自动化需求 | ✅ |
| 会签 | 同一个审批节点设置多个人(如 A、B、C 三人,三人会同时收到待办任务),需全部同意之后,审批才可到下一审批节点 | ✅ |
| 或签 | 同一个审批节点设置多个人,任意一个人处理后,就能进入下一个节点 | ✅ |
| 依次审批 | (顺序会签)同一个审批节点设置多个人(如 A、B、C 三人),三人按顺序依次收到待办,即 A 先审批,A 提交后 B 才能审批,需全部同意之后,审批才可到下一审批节点 | ✅ |
| 抄送 | 将审批结果通知给抄送人,同一个审批默认排重,不重复抄送给同一人 | ✅ |
| 驳回 | (退回)将审批重置发送给某节点,重新审批。可驳回至发起人、上一节点、任意节点 | ✅ |
| 转办 | A 转给其 B 审批,B 审批后,进入下一节点 | ✅ |
| 委派 | A 转给其 B 审批,B 审批后,转给 A,A 继续审批后进入下一节点 | ✅ |
| 加签 | 允许当前审批人根据需要,自行增加当前节点的审批人,支持向前、向后加签 | ✅ |
| 减签 | (取消加签)在当前审批人操作之前,减少审批人 | ✅ |
| 撤销 | (取消流程)流程发起人,可以对流程进行撤销处理 | ✅ |
| 终止 | 系统管理员,在任意节点终止流程实例 | ✅ |
| 表单权限 | 支持拖拉拽配置表单,每个审批节点可配置只读、编辑、隐藏权限 | ✅ |
| 超时审批 | 配置超时审批时间,超时后自动触发审批通过、不通过、驳回等操作 | ✅ |
| 自动提醒 | 配置提醒时间,到达时间后自动触发短信、邮箱、站内信等通知提醒,支持自定义重复提醒频次 | ✅ |
| 父子流程 | 主流程设置子流程节点,子流程节点会自动触发子流程。子流程结束后,主流程才会执行(继续往下下执行),支持同步子流程、异步子流程 | ✅ |
| 条件分支 | (排它分支)用于在流程中实现决策,即根据条件选择一个分支执行 | ✅ |
| 并行分支 | 允许将流程分成多条分支,不进行条件判断,所有分支都会执行 | ✅ |
| 包容分支 | (条件分支 + 并行分支的结合体)允许基于条件选择多条分支执行,但如果没有任何一个分支满足条件,则可以选择默认分支 | ✅ |
| 路由分支 | 根据条件选择一个分支执行(重定向到指定配置节点),也可以选择默认分支执行(继续往下执行) | ✅ |
| 触发节点 | 执行到该节点,触发 HTTP 请求、HTTP 回调、更新数据、删除数据等 | ✅ |
| 延迟节点 | 执行到该节点,审批等待一段时间再执行,支持固定时长、固定日期等 | ✅ |
| 拓展设置 | 流程前置/后置通知,节点(任务)前置、后置通知,流程报表,自动审批去重,自定流程编号、标题、摘要,流程报表等 | ✅ |
支付系统
| 功能 | 描述 | |
|---|---|---|
| 🚀 | 应用信息 | 配置商户的应用信息,对接支付宝、微信等多个支付渠道 |
| 🚀 | 支付订单 | 查看用户发起的支付宝、微信等的【支付】订单 |
| 🚀 | 退款订单 | 查看用户发起的支付宝、微信等的【退款】订单 |
| 🚀 | 回调通知 | 查看支付回调业务的【支付】【退款】的通知结果 |
| 🚀 | 接入示例 | 提供接入支付系统的【支付】【退款】的功能实战 |
基础设施
| 功能 | 描述 | |
|---|---|---|
| 🚀 | 代码生成 | 前后端代码的生成(Java、Vue、SQL、单元测试),支持 CRUD 下载 |
| 🚀 | 系统接口 | 基于 Swagger 自动生成相关的 RESTful API 接口文档 |
| 🚀 | 数据库文档 | 基于 Screw 自动生成数据库文档,支持导出 Word、HTML、MD 格式 |
| 表单构建 | 拖动表单元素生成相应的 HTML 代码,支持导出 JSON、Vue 文件 | |
| 🚀 | 配置管理 | 对系统动态配置常用参数,支持 SpringBoot 加载 |
| ⭐️ | 定时任务 | 在线(添加、修改、删除)任务调度包含执行结果日志 |
| 🚀 | 文件服务 | 支持将文件存储到 S3(MinIO、阿里云、腾讯云、七牛云)、本地、FTP、数据库等 |
| 🚀 | WebSocket | 提供 WebSocket 接入示例,支持一对一、一对多发送方式 |
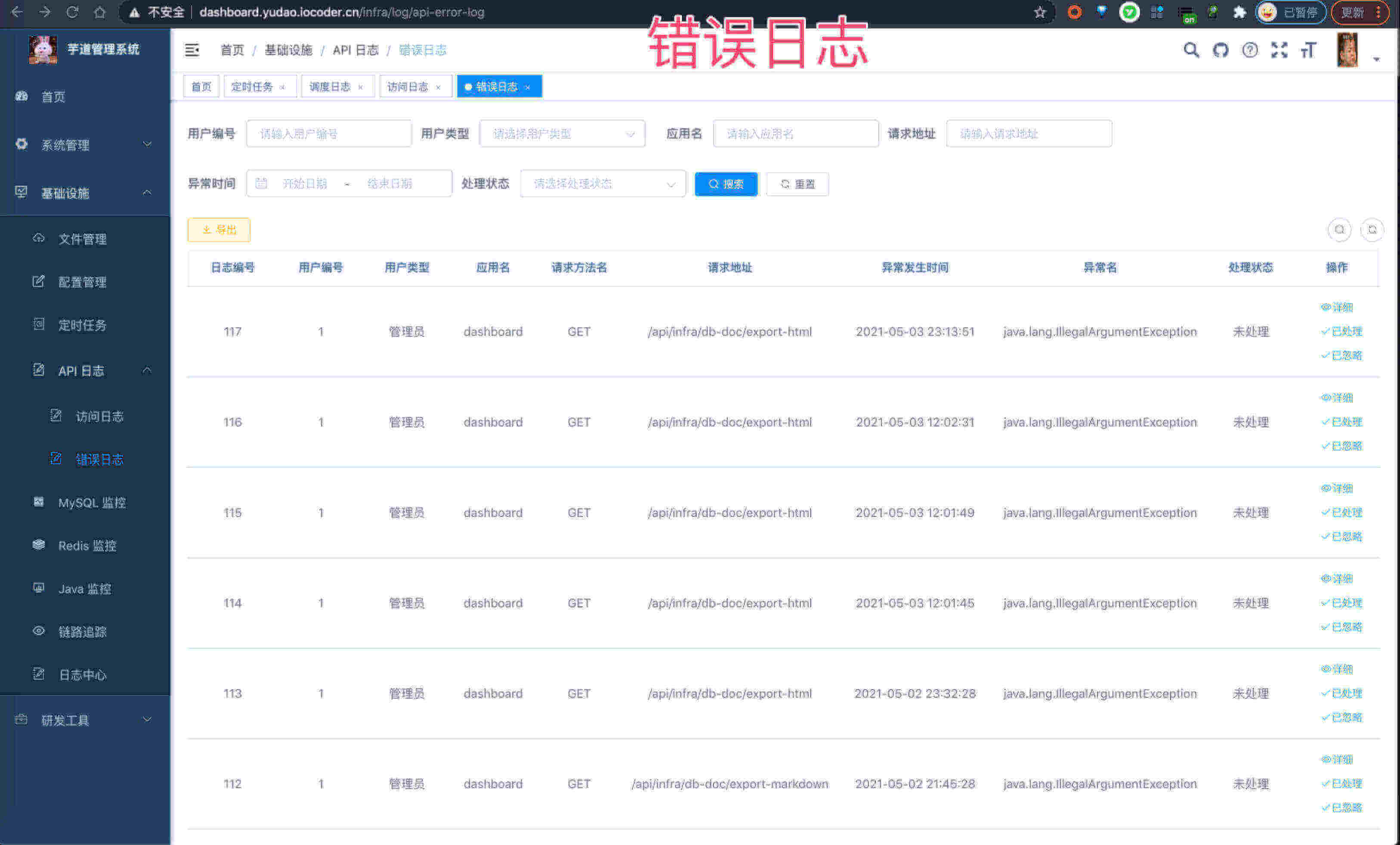
| 🚀 | API 日志 | 包括 RESTful API 访问日志、异常日志两部分,方便排查 API 相关的问题 |
| MySQL 监控 | 监视当前系统数据库连接池状态,可进行分析SQL找出系统性能瓶颈 | |
| Redis 监控 | 监控 Redis 数据库的使用情况,使用的 Redis Key 管理 | |
| 🚀 | 消息队列 | 基于 Redis 实现消息队列,Stream 提供集群消费,Pub/Sub 提供广播消费 |
| 🚀 | Java 监控 | 基于 Spring Boot Admin 实现 Java 应用的监控 |
| 🚀 | 链路追踪 | 接入 SkyWalking 组件,实现链路追踪 |
| 🚀 | 日志中心 | 接入 SkyWalking 组件,实现日志中心 |
| 🚀 | 服务保障 | 基于 Redis 实现分布式锁、幂等、限流功能,满足高并发场景 |
| 🚀 | 日志服务 | 轻量级日志中心,查看远程服务器的日志 |
| 🚀 | 单元测试 | 基于 JUnit + Mockito 实现单元测试,保证功能的正确性、代码的质量等 |
数据报表
| 功能 | 描述 | |
|---|---|---|
| 🚀 | 报表设计器 | 支持数据报表、图形报表、打印设计等 |
| 🚀 | 大屏设计器 | 拖拽生成数据大屏,内置几十种图表组件 |
微信公众号
| 功能 | 描述 | |
|---|---|---|
| 🚀 | 账号管理 | 配置接入的微信公众号,可支持多个公众号 |
| 🚀 | 数据统计 | 统计公众号的用户增减、累计用户、消息概况、接口分析等数据 |
| 🚀 | 粉丝管理 | 查看已关注、取关的粉丝列表,可对粉丝进行同步、打标签等操作 |
| 🚀 | 消息管理 | 查看粉丝发送的消息列表,可主动回复粉丝消息 |
| 🚀 | 自动回复 | 自动回复粉丝发送的消息,支持关注回复、消息回复、关键字回复 |
| 🚀 | 标签管理 | 对公众号的标签进行创建、查询、修改、删除等操作 |
| 🚀 | 菜单管理 | 自定义公众号的菜单,也可以从公众号同步菜单 |
| 🚀 | 素材管理 | 管理公众号的图片、语音、视频等素材,支持在线播放语音、视频 |
| 🚀 | 图文草稿箱 | 新增常用的图文素材到草稿箱,可发布到公众号 |
| 🚀 | 图文发表记录 | 查看已发布成功的图文素材,支持删除操作 |
商城系统
ERP 系统
CRM 系统
AI 大模型
🐷 演示图
系统功能
| 模块 | biu | biu | biu |
|---|---|---|---|
| 登录 & 首页 | ![]() |
![]() |
![]() |
| 用户 & 应用 | ![]() |
![]() |
![]() |
| 租户 & 套餐 | ![]() |
![]() |
- |
| 部门 & 岗位 | ![]() |
![]() |
- |
| 菜单 & 角色 | ![]() |
![]() |
- |
| 审计日志 | ![]() |
![]() |
- |
| 短信 | ![]() |
![]() |
![]() |
| 字典 & 敏感词 | ![]() |
![]() |
![]() |
| 错误码 & 通知 | ![]() |
![]() |
- |
工作流程
| 模块 | biu | biu | biu |
|---|---|---|---|
| 流程模型 | ![]() |
![]() |
![]() |
| 表单 & 分组 | ![]() |
![]() |
- |
| 我的流程 | ![]() |
![]() |
![]() |
| 待办 & 已办 | ![]() |
![]() |
![]() |
| OA 请假 | ![]() |
![]() |
![]() |
基础设施
| 模块 | biu | biu | biu |
|---|---|---|---|
| 代码生成 | ![]() |
![]() |
- |
| 文档 | ![]() |
![]() |
- |
| 文件 & 配置 | ![]() |
![]() |
![]() |
| 定时任务 | ![]() |
![]() |
- |
| API 日志 | ![]() |
![]() |
- |
| MySQL & Redis | ![]() |
![]() |
- |
| 监控平台 | ![]() |
![]() |
![]() |
支付系统
| 模块 | biu | biu | biu |
|---|---|---|---|
| 商家 & 应用 | ![]() |
![]() |
![]() |
| 支付 & 退款 | ![]() |
![]() |
--- |
数据报表
| 模块 | biu | biu | biu |
|---|---|---|---|
| 报表设计器 | ![]() |
![]() |
![]() |
| 大屏设计器 | ![]() |
![]() |
![]() |
Languages
Vue
83%
TypeScript
9.9%
JavaScript
6.5%
SCSS
0.5%
































































